
精彩内容
近日,石家庄四药的复方电解质醋酸钠葡萄糖注射液成功获批,公司的注射剂产品矩阵再添重磅一员。复方电解质醋酸钠葡萄糖注射液2025年在中国公立医疗机构终端的销售额超过了11亿元,石家庄四药是该产品国产第五家获批企业。今年以来,石家庄四药累计获批了9个新产品,其中7个为注射剂。
图1:石家庄四药的复方电解质醋酸钠葡萄糖注射液审评进度

来源:米内网中国申报进度(MED)数据库
据悉,复方电解质醋酸钠葡萄糖注射液主要用于不能口服给药或口服给药不能充分摄取时,补充和维持水分及电解质,并补给能量。2023年2月,南京恩泰医药拿下该产品的国内首仿,随后西安万隆制药、南京赛瑞谱顿制药、仁合益康陆续获批,本次石家庄四药拿下了第五家获批,依然有竞争优势。
图2:复方电解质醋酸钠葡萄糖注射液的销售情况(单位:万元)

来源:米内网中国公立医疗机构终端竞争格局
复方电解质醋酸钠葡萄糖注射液在2023年谈判成功进入国家医保目录,2025年转入常规目录,在中国城市公立医院、县级公立医院、城市社区中心及乡镇卫生院(简称中国公立医疗机构)终端,复方电解质醋酸钠葡萄糖注射液的销售额快速飙涨,2024年接近2亿元,2025年涨至11.2亿元,一跃成为了血液代用品和灌注液(化+生)市场TOP8产品,市场潜力巨大。
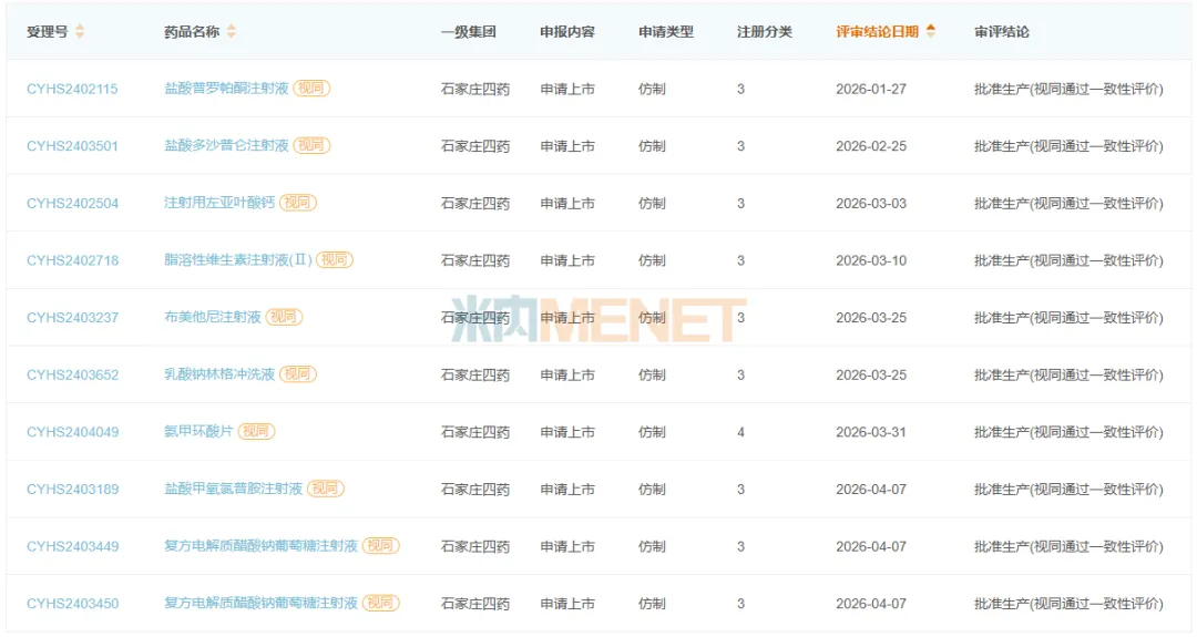
图3:2026年石家庄四药获批的新产品

来源:米内网中国申报进度(MED)数据库
米内网数据显示,2026年至今石家庄四药已累计获批了9个新产品,均为高端仿制药,其中注射剂包括了盐酸普罗帕酮注射液、盐酸多沙普仑注射液、注射用左亚叶酸钙、脂溶性维生素注射液(Ⅱ)、布美他尼注射液、盐酸甲氧氯普胺注射液、复方电解质醋酸钠葡萄糖注射液7个,公司在注射剂领域的研发实力不容小觑。
截至目前,石家庄四药已上市的药品制剂超过280个(按现有批文统计),其中化药注射剂占比达56%,2025年在中国公立医疗机构终端化药注射剂市场,石家庄四药位列TOP15集团(二级)。
资料来源:米内网数据库
免责声明:本文仅作医药信息传播分享,并不构成投资或决策建议。
本文为原创稿件,转载文章或引用数据请注明来源和作者,否则将追究侵权责任。
投稿及报料请发邮件到872470254@qq.com
稿件要求详询米内微信首页菜单栏
商务及内容合作可联系QQ:412539092

【分享、点赞、在看】点一点不失联哦